- Opis produktu
-
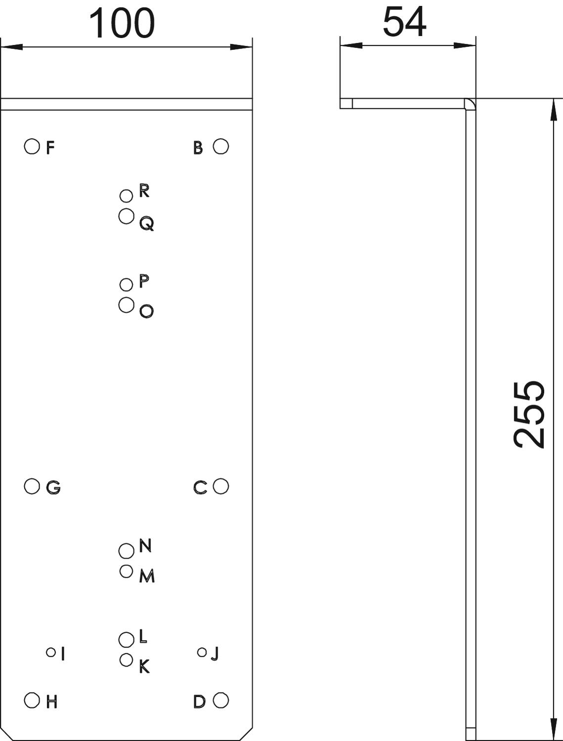
Opis produktuSzablon do wiercenia wszystkich niezbędnych otworów dla jednostki kanału z listwą szczotkową.
-
- Dane techniczne
-
Dane techniczne
Materiał Stal Minimalna wysokość wylewki 85 Możliwość montażu uszczelki brak Możliwość odłączenia tak Odpowiednie do kanału podpodłogowego zalewanego betonem brak Odpowiednie do otwartego kanału podpodłogowego związanego z posadzką tak Odpowiednie do szczeliny dylatacyjnej brak Odpowiednie do zamkniętego kanału podpodłogowego związanego z posadzką brak Pielęgnacja podłogi suchy Pokrywa otworu montażowego brak Pokrywa zdejmowana tak Powierzchnia cynkowana metodą Sendzimira Płyta podłogowa tak Ślad węglowy CO2 (GWP) od kołyski po bramę 2,9582 kg CO2e / 1 Sztuka Z otworem przyłączeniowym brak Z występem tak Zamocowanie pokrywy zatrzaskowe brak Z wyrównaniem potencjałów brak - Wszystkie typy
- Do pobrania
-
Karta danych technicznych OKB BS BL / 7403883 , 0.16MB , pdfREACH Deklaracja zgodności OKB BS BL / 7403883 , 0.12MB , pdfRoHS Deklaracja zgodności OKB BS BL / 7403883 , 0.13MB , pdfInstrukcja montażu Instrukcja montażu OKB-U i OKB-E , 1.30MB , pdfInstrukcja montażu Instrukcja użytkowania OKB BS BL , 0.62MB , pdfDo tego produktu nie są dostępne żadne zestawienia produktowe
Polska - Język Polski